展开全部
收起全部
-
技术特性
-
技术曲线

-
技术参数
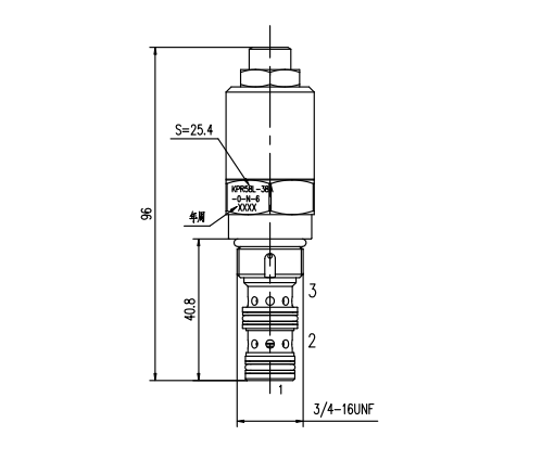
额定压力350bar流量请查看《压力-流量曲线图》插孔VC08-3过滤参考《油液清洁度》内泄漏②流向③,82ml/min,P=207bar时温度-40°F to +250°F(-40°C to +120°C)油液Mineral-based fluids with viscosities of 7.4 to 420 cSt.(矿物油粘度)阀块材料钢和球铁允许使用最大压力350bar减压范围13bar-60bar,出厂设定35bar -
文件下载
-
相关辅件









