展开全部
收起全部
-
技术特性
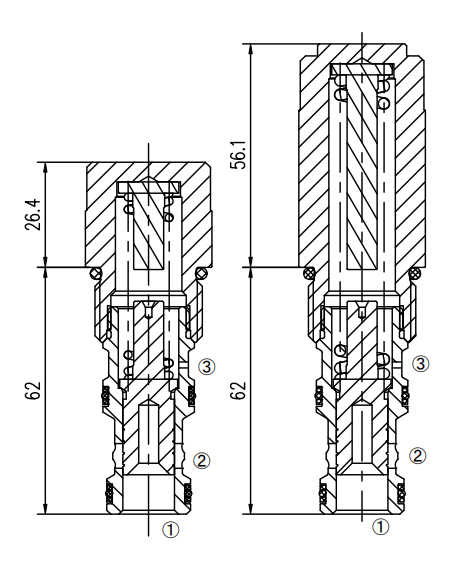
KEP12-S35是弹簧截止阀,只有在①处到②处的开启压力大于③处的总压力和弹簧预压力之和时,滑阀才会移动,油液流向②口。当③口无压力时,①处的压力超过弹簧预压力,油液将从①流向②。
-
技术曲线

-
技术参数
额定压力350bar流量151.4L/min,请查看《压力-流量曲线图》插孔VC12-S3过滤参考《油液清洁度》内泄漏131 ml/min max. at 350bar温度-40°F to +250°F(-40°C to +120°C)油液Mineral-based fluids with viscosities of 7.4 to 420 cSt.(矿物油粘度) -
文件下载
-
相关辅件









